Disney Has Invented A Way To Make You Believe Blasters Are Real At Star Wars: Galaxy's Edge
Based on everything we've seen thus far, theme park fans are soon going to classify all events into two separate time periods: the era before Disney's Star Wars: Galaxy's Edge opens, and the era afterward. Disney's immersive new Star Wars land opens next year, and we've just heard about yet another way they're going to try to create the illusion that guests are walking around in a galaxy far, far away. Better keep your heads on a swivel, because it looks like there's going to be blaster fire flying through the air.
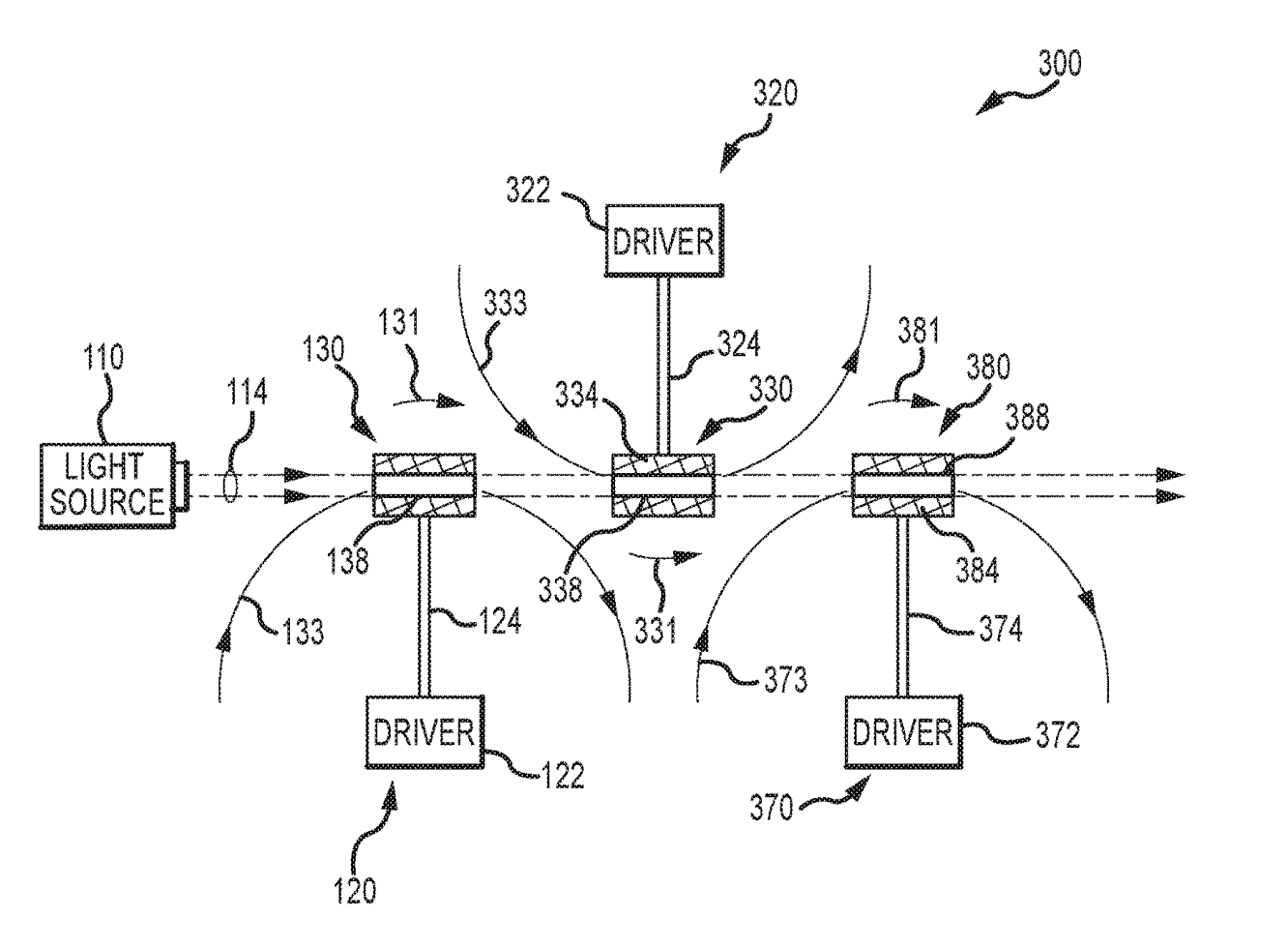
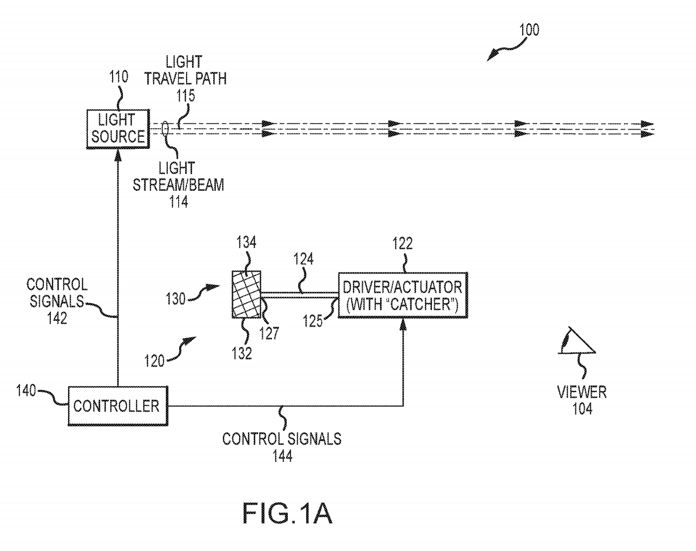
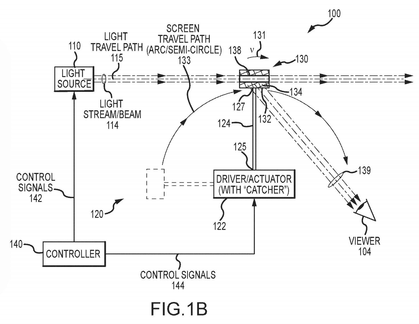
WDWNT noticed that Disney recently filed a patent for technology that will make it seem like Star Wars: Galaxy's Edge blasters are going off in certain sections of the park. Here's how it works...
...actually, about that. I'm actually not 100% sure how it works, even with the folks at WDWNT doing their best to try to explain it. They say it uses "a multitude of mini reflective surfaces that display the blaster fire traveling through space", and I'm with them on that. But all of those reflective surfaces are hooked to arms that "quickly appear and disappear from view", and when enough of those are aligned, "the laser that is shot out of the blaster can mimic a blaster shot traveling quite a long distance."
Maybe the engineers among you will be able to wrap your heads around how this thing actually functions, but all signs point to this technology being used inside a dark ride at Star Wars: Galaxy's Edge, probably the First Order Battle Escape attraction that puts visitors in the middle of a battle between the Resistance and the First Order. Disney has utilized hidden tricks like this for rides in the past, famously creating its ghosts in the Haunted Mansion ride using the Pepper's Ghost Illusion.
It's also possible that this could be used for a stage show, but as WDWNT points out, actors tasked with utilizing this tech would need to be absolutely precise for the illusion to work. Plus, all of the pieces of the apparatus would be far easier to hide in the shadows of a dark ride. It's much more likely that this will be attached to animatronic Stormtroopers or something along those lines – machines that can be programmed for the pinpoint accuracy required to sell the illusion.
In addition to recent revelations that there will be lightsabers in the park and that Disney is incorporating branching narratives into the action (ala Westworld), this is just the latest indication that the company is sparing no expense at creating a totally immersive experience for its guests. Considering how Disneyland is testing dynamic pricing models, visitors may be paying increased prices to get into Galaxy's Edge on certain days of the year. At least it sounds like they'll be getting their money's worth.


