Disneyland 'Spider-Man' Ride Revealed In New Patents
Is Disneyland working on a new Spider-Man ride? A new patent hints that we could see an attraction in Disney California Adventure's upcoming Marvel-themed land that would allow guests to swing through the skyscrapers of Marvel Studios' Manhattan. See details of the potentially new Disney Spider-Man ride below.
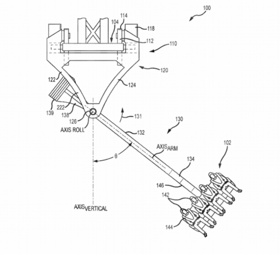
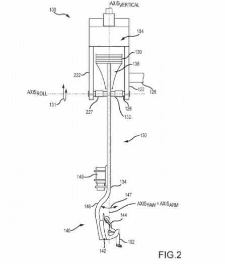
Inside The Magic reports that a patent for a "Track-based Swing Ride with Long Arm Pendulum" hints at a possible Spider-Man ride for Disneyland Resort, featuring the following description:
One goal in designing the ride system was to deliver an experience similar to what it would feel like to be with Tarzan or a similar character swinging between trees of a jungle on a vine or with Spider-Man or a similar character swinging on webs between buildings as you move down streets of a city. [The ride is] intended to have swinging sensation provided while also having forward travel along a ride path in a direction of travel and for the swinging sensation to feel thrilling and fun.
You can see some images of the patent below.
Even though Disney acquired Marvel in 2008, Universal Studios owns the theme park rides to these characters, which has prohibited Disney from adding Marvel characters in their Orlando parks in the past but not west of the Mississipi or international parks. An E-Ticket Iron Man Experience ride opened at Hong Kong Disneyland earlier in 2017. And just recently, the Guardians of the Galaxy – Mission: BREAKOUT! ride replaced the old Twilight Zone Tower of Terror in the Disney California Adventure park. Of the Guardians ride, Bob Chapek, chairman of Walt Disney Parks and Resorts, said, "We believe that [the Guardians ride] gives us an anchor for a much larger superhero presence inside Disney California Adventure."
During this year's D23 Expo, Disney also announced a Marvel land for Disney California Adventure. As /Film's Jacob Hall reported:
Chairman of Walt Disney Parks and Resorts Bob Chapek made the official announcement alongside an adorable animatronic Baby Groot, who, naturally, only added a few utterings of "I am Groot!" to the conversation. Chapek was a little more loose-lipped, noting that the Avengers and Spider-Man would both play a role in this "completely immersive superhero universe" that will allow guests to "team up with your heroes in ways never seen before" while "new stories build on Mission: Breakout!"
If Disney is unable to make the Spider-Man ride happen, however, there's already a workaround built into the description, claiming the ride can deliver an experience similar to Spider-Man or Tarzan. Disney has much easier access to Tarzan as a character due to their 1999 animated film. So expect a Tarzan ride if the Spider-Man ride doesn't work out. And maybe when no one is looking, someone can cross out "Tarzan" on the sign and write "Spider-Man' in red Sharpie and hope no one notices.



