Insane New Ride System Patents Give Us A Possible Look At Universal Studios' Future 'Jurassic World,' 'Legend Of Zelda' And Harry Potter Rides
The only thing we know for sure about the fourth theme park coming to the Universal Orlando Resort is that it's in the works. Everything else is hidden behind lock and key. Rumors and whispers float around the internet, but nothing official has been announced. Not even a name.
Now, a series of new ride patents filed by Universal suggest what could be in store for visitors. These designs are purely technical and don't come with labels suggesting what they could represent. But with a little bit of imagination, we can make some educated guesses about many of them.
Except for the one that is clearly supposed to be a Jurassic World ride. It's a no-brainer.
As is the case with theme park patents, just because Universal filed them doesn't mean these rides are going to be built. Universal and Disney frequently file patents for ride systems just to lock them down for theoretical future use. With that said, let's assume that Universal has whipped up these designs because they have an entirely new theme park to fill with new attractions and have every intention of using them.
These designs come our way via WDW Info, and if you want to see more images and scan through the proper technical jargon, I'd recommend hitting that link.
A Jurassic World Gyrosphere Ride?
Let's start with the obvious. Franchise producer Frank Marshall has mentioned in the past that Universal has wanted to make a ride based on the gyrosphere vehicles seen in Jurassic World and Jurassic World: Fallen Kingdom. And here you go: a ride design that looks to place the rider within a spherical vehicle with a striking resemblance to what's seen on the screen. The technical jargon describes a ride that would provide all the physical thrills of being bounced around in a giant glass ball by angry dinosaurs:
Movement of the passenger support system, and thus, the passenger, within the annular structure, causes the sensation of airflow around the passenger's body (e.g., arms and legs) and may allow the passenger a heightened amusement ride experience. Additionally, relatively minor movement of the passenger support system may create additional forces on the rider's body due, in part, to the distribution of gravitational forces. The combination of physical effects such as airflow and g-forces, along with visual effects such as a visual effect device, screen, or facade may provide the passenger with an immersive amusement ride experience.
The big question now is where this ride will go? There is already a Jurassic Park land at the Islands of Adventure theme park, and there has been buzz about a significant new attraction being built there in the coming years, more likely a rollercoaster. However, there have also been rumors about a separate Jurassic World land opening at the unnamed fourth park down the road, so this could also theoretically go there. One thing is for sure: Universal wants to make the gyrosphere experience a reality in one way or another.
A Zelda Horse-Riding Attraction?
The second patent isn't quite as specific, and it's built to simulate the experience of riding a motorcycle or a horse. Here's more:
By positioning the rider in a facedown position or on a vehicle that, at least in some orientations, permits a downward gaze, the rider may experience a sensation and feeling of horseback riding, motorcycling, or the like. Additionally, the disclosed rider support assembly may allow the rider to experience sudden moments of positive and negative gravitational forces (e.g., g-forces) that enhance the sensation of riding or motorcycling, and provide a more pleasurable riding experience.
So, what ride could we be looking at here? With Universal bringing Super Nintendo World to its parks in the next few years, I can't help but wonder if this will be themed to The Legend of Zelda, the iconic video game franchise about exploring a dangerous fantasy world, often on the back of your trusty steed. It's still not clear where Super Nintendo World will open in Universal Orlando (if maybe that fourth unnamed park), but there have been additional rumors that Zelda will be spun off into its own land entirely, away from the Mario-centric core world (which will host a ride based around Mario Kart).
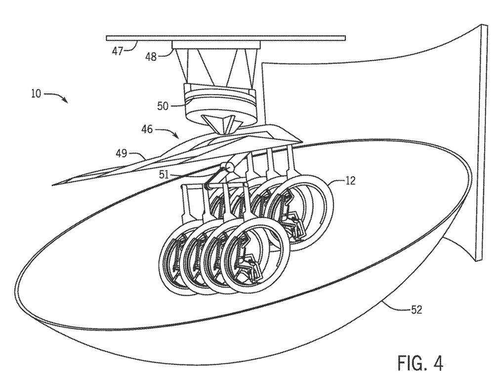
A Flying Ride For The Wizarding World?
The next patent is even less specific and involves a little bit of spitballing on my part. As you can see in the designs, the ride vehicle will hoist the rider into the air and place them parallel to the ground, simulating flying over a screen or through actual environments. So, what is a major franchise that involves flight and is already popular in Universal's theme parks? My educated guess is that this could be a new Harry Potter ride, possibly one being built for that mysterious fourth park. Visits can already stop by Hogsmeade in Islands of Adventure and Diagon Alley in Universal Studios Florida, so rumors point to the new park getting the Ministry of Magic. And what better way to explore that massive space than in the air, flying through its giant lobbies, corridors, and dangerous inner chambers?
A Moving Show Ride, But For What We Have No Idea
And finally, I have nothing to say about this patent beyond "Hey, that looks cool and could probably support a number of different themes." Theme park fans are no stranger to 4D shows, where seats rock in front of 3D screens and various effects (water, heat, etc.) add to the immersion. This design asks "What if the theater itself moved instead of just the seats?" The audience would be seated inside a giant sphere, which would move around them to increase the sense of motion.
With Disney's Star Wars: Galaxy's Edge opening next year, expect a bunch of Universal announcements to arrive in the near future as they attempt to steal their thunder.





