'Guardians Of The Galaxy' Roller Coaster's Revolutionary New Ride System Revealed In Disney Patents
Roller coasters with spinning cars is not a new thing, but those spins have all previously relied on the design of the track or the weight distribution of the cars to initiate the rotations. Now, The Walt Disney Company has filed a new patent for technology that will allow the ride car's spins to be controlled remotely, and they'll debut this tech at Epcot's Guardians of the Galaxy roller coaster in Orlando, Florida. Get more details below.
Spinning roller coasters are a dime a dozen. Here's a quick video from the Undertow, located on the Santa Cruz Beach Boardwalk:
Rides like these say you'll have a different experience every time you ride it, based on things like weight of the passengers and the speed and angle at which you approach turns on the track. But Disney's looking to up the ante.
The company's new patent (via WDWNT) reveals that their engineers have solved one of the frequent problems designers run into when trying to create a roller coaster car with controlled spins:
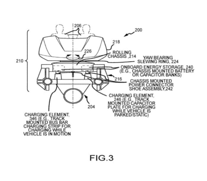
A common issue in reusing tracks for rotation carts is that the carts need a source of power as the ride goes to initiate the rotation. The new patent answers that question by having charging docks added to the loading and unloading areas as well as in a few locations throughout the ride. These charging stations will be added to the typical bus bar system that rides typically employ for charging.


Power and weight were key factors that limited this type of innovation in the past. But it looks like Disney has broken through that roadblock, so this new ride will be able to control the spin for each ride car along the track. You know how The Haunted Mansion omnimover ride vehicle rotates to make you look in certain directions? This is a similar thing, only presumably it will all be much faster.
Considering how Disney has been looking to increase re-ride-ability with attractions like Star Tours or Monsters After Dark, I can imagine them utilizing this technology to create tons of different variations of ride experiences for people. One car could rotate one way, revealing a different part of a narrative, but another could point in a totally different direction and change the overarching story for riders based on what they see. We've previously heard that this ride could feature "both elaborate scenes and a long roller coaster portion," so it sounds like there's plenty of opportunities for varied storytelling there. We'll see it in action when the Guardians of the Galaxy roller coaster debuts in Walt Disney World's Epcot in 2021.